Центровочные сверла
Содержание
2. Типы центровочных сверл
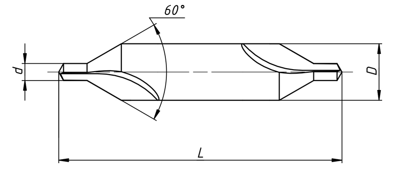
3. Сверло ГОСТ 14952-75
4. Центровочные шлифованные сверла beltools
Сверла центровочные. Применение
Обычно изготавливают из быстрорежущих сталей или твердых сплавов.
для облегчения процесса установки сверла и уменьшения вибраций, его длина проектируется довольно небольшой по сравнению с другими видами сверл. Благодаря этому отверстия являются более точными и инструмент меньше ломается.
Типы центровочных сверл
Различают четыре типа центровочных сверл: простые, комбинированные, комбинированные с предохранительным конусом, с дугообразной образующей.Сверло центровочное ГОСТ 14952-75
Центровочные сверла Beltools. Преимущества
Мы презентуем новинку под брендом Beltools - центровочные сверла изготовленные с контролем качества. Сверла центровочные изготовлены из быстрорежущей стали методом полного вышлифовывания из заготовки, взамен устаревшего фрезерования с дошлифовкой углов.
Основным достоинством процесса вышлифовывания является то, что геометрические параметры получаются высокой точности, а также данный метод обеспечивает высокое качество рабочей поверхности:
- Соответствуют ГОСТ 14952-75
- Высокоточные геометрические параметры
- Изготовлены из быстрорежущей стали
Большинство привыкли рассматривать шлифование больше как метод получить отполированную поверхность. Однако оно используется не только для получения необходимой гладкости, но и для более существенного удаления металла с поверхности заготовки. Это более современный метод, поскольку позволяет получить более точный инструмент.
Компания «Русский Инструмент» производит металлорежущий инструмент. В ассортименте представлены сверла по металлу, в том числе: центровые, ступенчатые, спиральные и т. д. Ознакомиться с размерами центровочных сверл и их характеристиками можно на сайте. Получите консультацию уже сегодня, связавшись со специалистами компании «Русский Инструмент»!
